Mayıs 2, 2026




Microsoft’un Yeni 3.5mm Kulaklık Girişi Çözümü Daha Az Yer Kaplıyor

Microsoft Pantolon Cebinden esinlenerek 3.5mm Kulaklık Girişi için Yeni Bir Çözüm Buldu.

Microsoft’un Yeni 3.5mm Kulaklık Girişi Çözümü Oldukça İlginç ve daha az yer kaplıyor.

Microsoft 3.5mm Kulaklık Girişi için Yeni Bir Çözüm Buldu… Microsoft akıllı telefonlardan 3.5mm kulaklık girişini kaldırmak istemeyenler için yeni bir yöntem buldu. 

Pantolon cebinden esinlenen yeni 3.5mm kulaklık girişi, akıllı telefonlarda daha önce kapladığının yarısı kadar alan kaplayacak.

Özellikle aksesuar üreticileri akıllı telefonlardaki 3.5mm kulaklık girişini korumak için teknoloji devlerine oldukça bastırıyor. Bu baskı sayesinde belki de yüksek kaliteli sesin hala tadını çıkarabiliyoruz.

Özellikle Apple ile başlayan bu modaya diğer akıllı telefon üreticileri de bir şekilde takip ediyor. Ancak başta Apple olmak üzere; 3.5mm kulaklık girişinden vazgeçen üreticilerin en büyük argümanı “3.5mm kulaklık girişinin akıllı telefonlarda oldukça büyük yer kaplamaları ve telefonların daha incelmesine engel olduğuydu”. Görünen o ki Microsoft; bu konu hakkında bir çıkış yolu buldu!

Microsoft’un Yeni 3.5mm Kulaklık Girişi Çözümü Daha Az Yer Kaplıyor

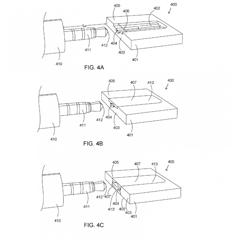
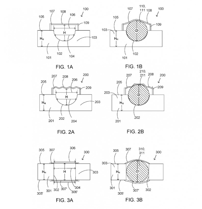
Microsoft Genişleyen bir 3.5 mm Yuvası için Patent Aldı.

Buradaki fikir 3.5mm kulaklık girişinin tamamını aygıta yerleştirmek yerine, yarısının aygıt içinde olması kalan yarısının ise genişleyen bir yapıda kullanılması üzerine kurulmuş. Yani 3.5mm kulaklık girişi akıllı telefonun yan tarafı ile aynı hizada olup, kulaklık takıldığında genişlemesi sağlanıyor. Tıpki pantolon cebi gibi.

Fena bir çözüm gibi durmuyor. ancak kullanıcılar tarafından ne kadar estetik bulunur şüpheliyim.

Microsoft’un Yeni 3.5mm Kulaklık Girişi Çözümü

 
Bu yeni çözüm gibi görünse de kimlerin uygulayacağını zaman gösterecek. Bildiğiniz gibi Microsoft Mobil pazardan çekiliyor. Uygulama kısa sürede gerçekleşecek gibi görünmüyor.

Gerçek şu ki, telefon üreticilerinin, sunmak istediklerini müşterilerin ihtiyaçlarına göre aygıtları içindeki alanlara öncelik verecek şekilde düzenlemeleri gerekiyor.

İlgili Haberler